AWS lightsail评测 带开机教程
前两天呢,老谢的主力日常小鸡还是甲骨文韩国春川和甲骨文德国,日常使用没问题,但似乎MJJ对于小鸡的态度是永远不嫌多,但是甲骨文感觉被草得有点烂了,所以呢前两天看到了有人在卖aws码子,所以就没禁住诱惑,注册了一个aws看看,所以也给大家测评一下。
一、注册
下面链接
https://aws.amazon.com/cn/free/compute/lightsail/
打开上面链接。

下滑我们可以看到

免费试用套餐可以使用3个月,3个月后最便宜的也就3.5刀一个月,还是非常划算啦。
接下来我们点击上面的创建免费账户。

创建新AWS账户

验证电子邮件

输入密码

填入相关信息,不用挂tz,真实信息即可,国内手机验证。

lightsail是需要信用卡的,所以visa,或者万事达信用卡即可,实体卡基本上都能过,风控比甲骨文好多了。
二、创建实例

然后就可以进入后台创建实例了!

lightsail提供了很多地方的实例,选择自己需要的即可,老谢选择的是韩国首尔的,为了配合甲骨文韩国。
系统的话就直接debian10就行,这个看个人喜好。

为了之后的使用,个人建议直接上最便宜的。
其他就可以不用管了,直接创建。

创建完成了,就可以直接下载密钥通过SSH连接了,不过注意的是用户名是admin
三、评测

连接成功之后输入
sudo -i
切换到root用户
这台小鸡老谢是安装了BBRplus的。
然后我们就开始正式的测评
以下脚本均可在老谢博客查询到https://www.meirivps.com/index.php/archives/59/
①综合测评

可以看到是xen架构,2.3GHz的E5 cpu,还算讲究。
io的话就不看了,也基本上做不了生产环境。
②ping延迟

整体看非常不错,一片绿,毕竟在南韩。
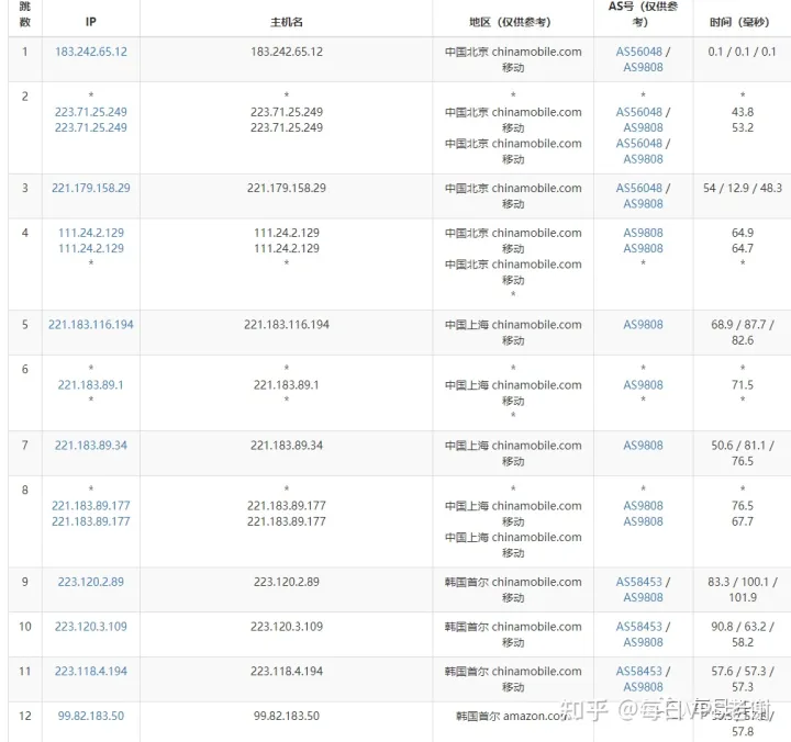
③去程路由


北京移动直连amzon

上海电信是先到日本amazon的,有点绕路

成都联通一样,去程绕路日本。
④回程路由

广州电信绕路日本

厦门电信先回的香港再到厦门

重庆联通绕路日本

上海移动很nice,直连回国。
总体来看,联通电信均绕路,移动直连。
⑤三网测速

联通移动基本上跑满带宽,电信随缘了。

老谢是联通300M,基本上也是跑满本地带宽的。
⑥油管测速

开启了BBRplus基本上稳定在12w-13w。
⑦流媒体测试
AWS就不要期望能看奈飞啥的了。
不过有解决办法。
四、总结及小技巧
总的来说,lightsail最低配置3.5刀每月,G口1t流量也基本上够日常使用了
1、试用3个月后,可配合码子试用会便宜很多。
比如现在老谢随便找了个发卡站的61块钱25美元的码子,25美元可以用7个月,那么换算一下你只需要话61元就可以用7个月,平均每个月的成本8块7毛钱。这个已经非常非常便宜了好吧,比大部分的oneman和其他商家都便宜。

2、另外的一点,aws解决看不了奈飞的问题,可配合上一篇文章
老谢就是通过甲骨文春川的来解锁lightsail的奈飞的,有人会文为什么不用春川直接解锁呢,原因是春川现在绕路,延迟高,但是解锁奈飞,所以同在南韩作为落地机非常的ok。
或者你也可以购买dns解锁,次之可以使用warp+解锁(不过就是不太稳定,如果大家有需求,可以后台私信老谢,后面跟着出教程)
求个关注公众号:每日vps,如果觉得不错可以赞赏一下!